首页 > 技术资讯
安全夹头允许操作者在机器运转过程进行轴向调整。调整可以通过手轮进行,轴向支撑托片确保卷曲轴安全,准确的传递扭矩。
东莞bw必威西汉姆联官网机电有限公司是在具有16年开发生产纠偏器、电磁离合器、电磁制动器专业技术基础上组建的。
口罩机纠偏系统组合体是一个闭环控制系统、控制器、传感器、线性导向机构构成闭环控制的基本部分
现阶段工业化生产生产制造阶段中运用到青岛瓦片式气胀轴的状况愈来愈多
南通ST系列恒张力控制器实现卷材的恒张力控制
涂布机采用单工位提升式放卷方式,配备有2根3英寸凸键气胀轴
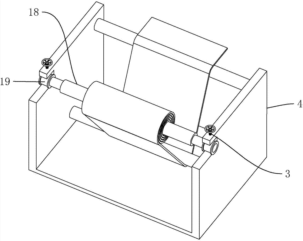
收放卷安全卡盘用于对物料进行卷取或导开,根据需要,它可以与电动机连接做主动旋转,又可以做被动旋转
佛山凸键式气胀轴生产厂家的气胀轴构造亮点
气液纠偏自动跟踪控制器(又称纠偏机)
随着东莞气胀轴的需求越来越广泛,对东莞气胀轴厂家的要求也是越来越高了
ST6400自动张力控制器是 基于32位ARM型CPU内核的高可靠性张力控制器
现在工业出产制作环节中使用到苏州的充气轴的状况越来越多,大众也开端逐渐触摸认识到这一产品
口罩纠偏一体机,带材在传输中的横向偏移由光电传感器检测
石家庄涨气轴顾名思义不畏透过气枪对着气胀轴的气嘴充气而成,根源美塞斯。
西安可承受高负载的安全夹头也简称为安全卡盘,根据类型可分为轴座型、法兰型
磁粉离合器操作便捷的特点,利于机械本身性能的更好发挥。
上海手动KTC002张力控制器其应用简单方便小巧,便于安装。
南通瓦片式气涨轴的使用说明非常简单,就是说简易的根据打气筒压紧管芯保持做到工作态度。
口罩机在卷材卷绕过程中,卷材边缘一旦失去对齐,后续生产过程将会出现材料浪费、停工调试等情况
由于涨气轴选用的是特殊加工出的管材
我司全新开发的纠偏一体机控制器,应用于对窄幅物料的精确纠偏
也许您正想要定制键条式汽涨轴,却困于对定制流程的不了解和不知道找哪家上海键条式汽涨轴公司, 让自己一筹莫展。
服务热线 189-2540-2950